激励的依据是绩效评价,激励的手段是薪酬分配,而激励的目的在于使企业价值的创造者发挥主动性和创造力,从而为企业带来更多的利益。因此,在分析薪酬体系如何与绩效评价体系如何挂钩这个问题之前,必须搞明白企业绩效评价体系的构成部分。
科学的绩效评价体系包括以素质模型为核心的能力评价体系、任职资格评价体系和以KPI为核心业绩评价体系。能力评价指的是评价员工是否具备某一职位所要求的个性特质。任职资格评价体系指的是评价员工是否具备某一职位所要求的职位行为能力,或者说是职位胜任力。以KPI为核心业绩评价体系指的是考核员工的工作是否达到某一职位所要求的关键绩效指标。
考核结果在薪酬管理体系中应用主要体现在三个方面:根据职位价值和任职资格评价体系确定员工的基本工资;根据KPI指标体系和能力评价体系确定员工的绩效工资;根据KPI指标体系、能力评价体系和任职资格评价体系决定员工的工资定级。
一、根据职位价值和任职资格评价体系确定员工的基本工资
一个科学的薪酬体系首先要与工作职位紧密相连。薪酬体系的第一部为职位工资。
这个部分需要通过科学的职位分析,通过分析确立职位的工作内容、责权、工作环境、在组织中位置、内外部关系、任职资格等基本的工作内容,进而确立明确的职位说明书,将人员和职位有效地结合起来,依据“合适的人在合适的职位上”的原则,将企业的人力资源进行合理有效的配置。
在职位分析的基础上,对职位的价值进行科学有效的评价,通过科学的手段和科学的工具评价出各个职位在企业的中的价值,确立职位的薪资水平,即为职位工资,它是一个有上下限的区间。
然后,根据任职资格体系确立员工的个人价值,即不同的员工做同一个职位的工作的价值是不同的,根据员工所掌握的知识、技能、经验的层次确定该员工在职位工资中的具体值,这个环节我们称之为员工价值。
通过以上两个步骤,基本上确立了员工的基本工资,即职位工资+员工价值。
二、根据KPI指标体系和能力评价体系确定员工的绩效工资。
绩效工资是指通过对员工的工作业绩、工作态度、工作能力等方面的考核评估,确立员工的绩效工资增长幅度。因此,绩效工资应该是基本工资的一个百分数,基本工资是不变的,所要变动的是绩效工资的增幅。
绩效工资的增幅应根据员工的绩效评价分数和其在工资结构中的位置确定。员工的绩效考核分数可从“优秀”到“差”分为四档;员工在工资结构中的位置可由四分位数来表示。如下表:

其中:P为调薪幅度,P3>P2>P1;
表1表示了员工个人工资调整的方法。假设两位员工Y1,Y2的绩效评价都为A,而Y1原工资区段在S1,而Y2在S3,尽管他们两人绩效都是A,但Y1的调薪幅度为+P3,大于Y2的调薪幅度+P1。因为Y2的工资已高于Y1,既然两人的绩效都是A,就应该给Y1较大一些的增幅,以减少二者工资的不公平性。这种调薪公式的思想要充分激励员工产生杰出业绩。如果新员工的业绩优秀,在调薪时给他一个加速度,鼓励新人以更快的速度发展,同时鞭策老员工要不断进步,否则老员工的工资只能原地踏步。
在一些具有特殊企业文化的公司中,绩效工资制度的推行可能会破坏工作气氛,打击员工的士气,如在特别重视团队合作的公司。可行的弥补措施是在考核个人绩效的同时,结合团队、部门、公司绩效确定个人绩效工资,例如:员工的绩效工资=绩效工资基数×个人绩效系数×部门绩效系数×公司绩效系数。这说明了工资分配的来源是什么,首先是公司的效益,所以当公司效益明显下降时,员工的工资也可以下调,这就是说工资可以两头伸缩,随着公司与部门的经营业绩上下浮动。
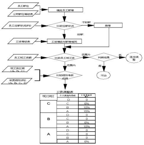
三、根据KPI指标体系、能力评价体系和任职资格评价体系决定员工的工资定级。
在进行员工工资定级时,只有三者结合起来,才能有效实施工资调整。如图所示,这说明了员工所担任的职位、员工的工作能力和员工的实际工作绩效三者之间的关系。
